
| 双向, 精密,高精度轴承, BTM..A design, 30°, preload A | |||||||||||
| 公差, 2344(00) 设计 , BTM 设计 | |||||||||||
| 推荐配合, shafts, housings | |||||||||||
| 轴和轴承座公差 | |||||||||||
| 
             | 
        
|||||||||||
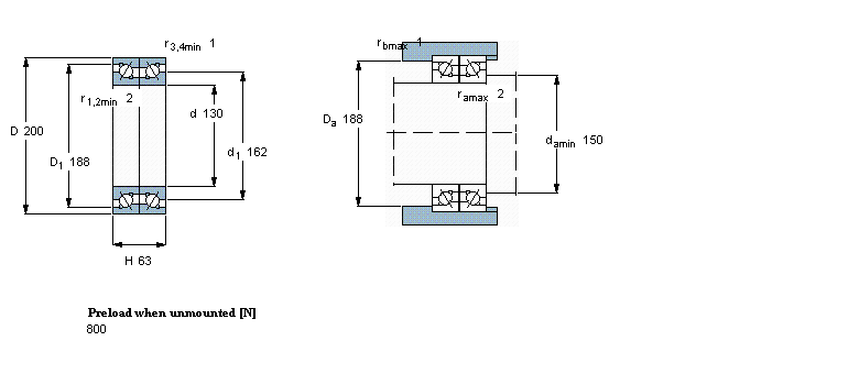
| 主要数据尺寸 | 基本负荷额定值 | 疲劳负荷限值 | 可达到的速度 | 体积 | 型号 | ||||||
| 动态 | 静态 | 当润滑与 | |||||||||
| 油脂 | 滴油润滑 | ||||||||||
| d | D | H | C | C | C0 | Pu | |||||
| 
             | 
        
|||||||||||
| mm | kN | kN | r/min | kg | - | ||||||
| 
             | 
        
|||||||||||
| 130 | 200 | 63 | - | 81,5 | 208 | 6,8 | 4500 | 5600 | 6,25 | BTM 130 A/P4CDBA | |
我公司特价供应以下型号产品: SC71917DB/P7 角接触球轴承 NU2224ECM 圆柱滚子轴承 BCE3410 闭式冲压外圈滚针轴承 PWM180200250 FW轴套 2585/2523-S 单列圆锥滚子轴承 3120 英制圆锥滚子轴承 NUP232ECML 圆柱滚子轴承 7001AC/DT 角接触球轴承 GE300-AW 推力关节轴承